面對中國發生的新型肺炎疫情,日本對中國的捐助以及日本政府對在日中國人的態度,已經受到了越來越多中國網友的盛贊。而通過醫療物資捐贈清單中發現,原來中國和日本兩國已經締結了眾多的友好城市,正是這些城市與城市之間的友好互助,為緩解疫情的醫療物資提供了有力的支持。
.jpg)
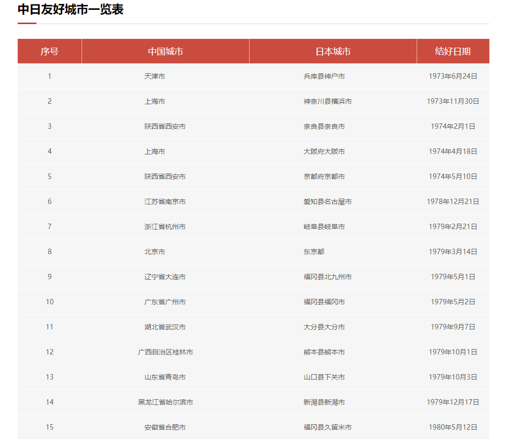
“友好城市在世界上又被稱為姐妹城市(Twin Cities),主要興起于二戰之后的歐洲。它指一國的城市(或省州、郡縣)與另一國相對應的城市(或省州、郡縣),以維護世界和平、增進相互友誼、促進共同發展為目的。在簽署正式友城協議書后,雙方城市將積極開展政治、經濟、科技、教育、文化、衛生、體育、環境保護和青少年交流等各個領域的交流合作,這種正式、綜合、長期的友好關系或制度安排,就是友好城市關系。我國在國際友好城市活動中,起步相對較晚,1973年,在周恩來總理的親自關心和支持下,天津市與日本神戶建立了中國第一對國際友好城市。”而到了現在,通過中日友好協會的官網上可以看到,中日兩國互為友好城市的數量多達256對。

對于此次新型冠狀病毒肺炎疫情,日本的大分市與武漢市是友好城市。疫情發生后,大分市在第一時間就緊急捐贈了3萬個口罩。之后又募集了第二批物資并送達武漢市,包括400套防護服,400個護目鏡。大分市政府還呼吁市民一起幫助武漢,開展了募捐活動。

除此以外,日本的各個友好城市也紛紛伸出援助之手,盡心盡力為中國捐贈各種醫療物資。“大愛無疆”、“山川異域,風月同天”。雖然中國和日本是兩個國家,但彼此相鄰,同根同源,一衣帶水,都是人類命運共同體。
.jpg)
.jpg)
.jpg)
當中國疫情剛剛爆發的時候,日本就在不斷的支援著中國,哪怕本國市場缺貨也在所不惜。通過這次疫情,雙方暫時放下了歷史恩怨,而這也可能是中日兩國近年來關系最好的時刻!可以預見,疫情結束后,中日兩國之間的關系將會登上新臺階,相互合作將會更緊密,到達互相促進、共同發展的新高度。
.jpg)